開關由控制線路板發出各種邏輯命令管理電機,由電機轉動經齒輪箱減速后帶動彈簧蓄能、瞬時釋放的操作機構,從而快速地接通與分斷電路或進行電路轉換,通過明顯可見狀態實現安全隔離。
開關可實現全自動、強制"0"、遠程控制、緊急手動等操作;并具有缺相檢測保護、電氣機械互鎖,帶發電機(油機)等功能。開關造型優美,新穎簡潔,體積小、功能全,是同類產品的最佳選擇。
開關由控制線路板發出各種邏輯命令管理電機,由電機轉動經齒輪箱減速后帶動彈簧蓄能、瞬時釋放的操作機構,從而快速地接通與分斷電路或進行電路轉換,通過明顯可見狀態實現安全隔離。
開關可實現全自動、強制"0"、遠程控制、緊急手動等操作;并具有缺相檢測保護、電氣機械互鎖,帶發電機(油機)等功能。開關造型優美,新穎簡潔,體積小、功能全,是同類產品的最佳選擇。
約定發熱電流(A) |
32 |
40 |
63 |
80 |
100 |
125 |
160 |
250 |
400 |
630 |
1000 |
1250 |
1600 |
2000 |
2500 |
3200 |
||||||||||||||||
額定絕緣電壓 |
750V |
1000V |
||||||||||||||||||||||||||||||
介電強度 |
3KV |
5KV |
||||||||||||||||||||||||||||||
額定沖擊耐受電壓 |
8KV |
12KV |
||||||||||||||||||||||||||||||
額定工作電流(A) |
AC-31 |
32 |
40 |
63 |
80 |
100 |
125 |
160 |
250 |
400 |
630 |
1000 |
1250 |
1600 |
2000 |
2500 |
3200 |
|||||||||||||||
AC-35 |
32 |
40 |
63 |
80 |
100 |
125 |
160 |
250 |
400 |
630 |
1000 |
1000 |
1600 |
2000 |
2000 |
2500 |
||||||||||||||||
AC-33 |
32 |
40 |
63 |
80 |
100 |
125 |
160 |
250 |
400 |
500 |
800 |
800 |
1000 |
1250 |
1250 |
1600 |
||||||||||||||||
額定短時耐受電流 |
7KV |
9KV |
13KV |
26KV |
||||||||||||||||||||||||||||
額定限制短路電流 |
70KV |
100KV |
120KV |
|||||||||||||||||||||||||||||
操作力矩(N、m) |
12 |
19 |
26 |
39 |
50 |
80 |
||||||||||||||||||||||||||
電機能耗(W) |
啟動 |
300 |
325 |
355 |
440 |
600 |
||||||||||||||||||||||||||
正常 |
55 |
62 |
74 |
98 |
120 |
|||||||||||||||||||||||||||
轉換時間(S) |
0.45 |
0.6 |
1.2 |
1.5 |
||||||||||||||||||||||||||||
機械壽命(次) |
10000 |
5500 |
4000 |
3000 |
||||||||||||||||||||||||||||
重量(kg) |
3極 |
7.2 |
8 |
8.2 |
14 |
15 |
30 |
34 |
42 |
85 |
76 |
120 |
||||||||||||||||||||
4極 |
7.5 |
8.5 |
9 |
16 |
17 |
36 |
40 |
49 |
95 |
98 |
135 |
電氣鑰匙鎖:控制開關內部控制線路電源,電氣鎖開啟時.開關才能實現全自動、強置“0”、遠控操作:電氣鎖關閉時.開關只可手動操作。
2、操作手柄:使用操作手柄手動操作時.必須先關閉電氣鎖。
3、機械掛鎖:檢修專用的掛鎖機構,檢修時將開關打到“0”檔,再拉起掛鎖機構并上掛鎖,可防止任何的意外(拉起掛鎖則切斷開關內部控制 電源開關無法自動,同時可防止手柄套上)。
4、指示件:指示開關的三種狀態(I、0、II)位置,“I”表示開關I接通,“II”表示開關II接通,“0”表示開關I、開關II都斷開。
開戶電氣鎖,開關全自動、強置“0”、遠程控制 鎖住掛鎖機構,可防止手柄套上,同時切斷內部控制電源

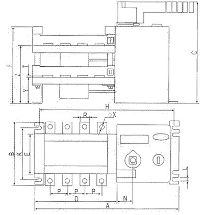
產品型號 |
A |
B |
C |
D |
E |
F |
H |
K |
L |
N |
P |
R |
T |
ФX |
Y |
Z |
CRQ5-32~100/3 |
215 |
120 |
175 |
100 |
70 |
124 |
200 |
85 |
7 |
30 |
30 |
14 |
2.5 |
6 |
38 |
90 |
CRQ5-32~100/4 |
245 |
120 |
175 |
130 |
70 |
124 |
230 |
85 |
7 |
30 |
30 |
14 |
2.5 |
6 |
38 |
90 |
CRQ5-125、160/3 |
268 |
135 |
225 |
140 |
85 |
172 |
245 |
110 |
7 |
33 |
36 |
20 |
3.5 |
9 |
56 |
130 |
CRQ5-125、160/4 |
298 |
135 |
225 |
170 |
85 |
172 |
275 |
110 |
7 |
33 |
36 |
20 |
3.5 |
9 |
56 |
130 |
CRQ5-250/3 |
310 |
170 |
260 |
180 |
110 |
205 |
285 |
110 |
7 |
38 |
50 |
25 |
3.5 |
11 |
60 |
145 |
CRQ5-250/4 |
360 |
170 |
260 |
230 |
110 |
205 |
335 |
110 |
7 |
38 |
50 |
25 |
3.5 |
11 |
60 |
145 |
CRQ5-400/3 |
375 |
240 |
320 |
225 |
160 |
240 |
350 |
180 |
9 |
42 |
65 |
32 |
5 |
11 |
80 |
188 |
CRQ5-400/4 |
435 |
240 |
320 |
290 |
160 |
240 |
415 |
180 |
9 |
42 |
65 |
32 |
5 |
11 |
80 |
188 |
CRQ5-630/3 |
375 |
260 |
320 |
225 |
160 |
240 |
350 |
180 |
9 |
42 |
65 |
40 |
6 |
13 |
80 |
188 |
CRQ5-630/4 |
435 |
260 |
320 |
290 |
160 |
240 |
415 |
180 |
9 |
42 |
65 |
40 |
6 |
13 |
80 |
188 |
CRQ5-1000/3 |
505 |
312 |
370 |
378 |
200 |
295 |
470 |
220 |
11 |
50 |
120 |
60 |
8 |
13 |
108 |
250 |
CRQ5-1000/4 |
625 |
312 |
370 |
498 |
200 |
295 |
590 |
220 |
11 |
50 |
120 |
60 |
8 |
13 |
108 |
250 |
CRQ5-1250/3 |
505 |
356 |
370 |
378 |
200 |
295 |
470 |
220 |
11 |
50 |
120 |
80 |
8 |
13 |
108 |
250 |
CRQ5-1250/4 |
625 |
365 |
370 |
498 |
200 |
295 |
590 |
220 |
11 |
50 |
120 |
80 |
8 |
13 |
108 |
250 |
CRQ5-1600/3 |
505 |
356 |
370 |
378 |
200 |
295 |
470 |
220 |
11 |
50 |
120 |
80 |
10 |
13 |
108 |
250 |
CRQ5-1600/4 |
625 |
356 |
370 |
498 |
200 |
295 |
590 |
220 |
11 |
50 |
120 |
80 |
10 |
13 |
108 |
250 |
產品型號 |
A |
B |
D |
H |
CRQ5-2000/3 |
5.20 |
460 |
378 |
350 |
CRQ5-2000/4 |
640 |
460 |
498 |
470 |
CRQ5-2500/ 3 |
520 |
160 |
378 |
350 |
CRQ5-2500/ 4 |
640 |
160 |
498 |
470 |
CRQ5-3200/3 |
520 |
510 |
378 |
350 |
CRQ5-3200 4 |
640 |
510 |
498 |
470 |
CRQ5-32~3200A 雙電源開關的使用與調試
開關使用說明
1、非專業人士,請勿安裝;非本公司許可,請勿拆開,以免損壞。
2、使用安裝前,請仔細認真閱讀本說明書,以免使用不當。
3、開關內部控制電源額定電壓為220V,取自常用電源的C1.N1與備用電源的C2.N2,在85%-110%的額定控制電壓范圍內,開關方可正常工作。
4、開關進線端電源應有過壓保護,以免電壓過高而損壞內部線路板或控制電機。
5、開關出線端應有短路保護,以免短路時電流太大而燒壞開關本體。
6、使用安裝時,請將電氣鑰匙鎖關閉,并將開關打到“0”檔。
7、開關接線時,請測量與區分電源進線的A.B.C.N,并接到開關的相應極上。
8、通電使用前,請再次測量C.N電壓是否在85%-11O%的額定控制電壓范圍內,然后開啟電氣鑰匙鎖,正式投入工作。
9、開關正常投入后,請取下電氣鑰匙與操作手柄單獨保管,以防意外。
開關調試說明
1、使用操作手柄,反復操作開關三次,開關應操作靈活。
2、全自動調試:按接線圖接好相應的線,確認無誤后再開啟電氣鎖,然后接通雙路電源,開關應轉到“I”擋;再斷開常用電源,開關應轉到“II”擋:然后再接通常用電源,開關應返回轉到“I”擋。
3、強制“0”調試:任何情況下,啟動強制“0”自鎖按鈕,開關應轉到“0”擋。
4、遠程控制調試啟動“I”擋按鈕,開關應轉到“I”擋;啟動“II”擋按鈕,開關應轉到“II”擋。
5、檢測信號指示燈:常/備用電源通/斷電時,開關“I/II”通斷時,電氣/掛鎖開/關時,各信號指示燈應作相應的指示。
6、調試完后,請先關閉電源,再用手柄將開關轉到“0”擋。
CRQ5-32~3200A 雙電源開關的使用與調試
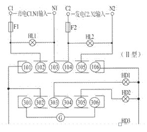
CRQ5-32~100A帶發電機接線


CRQ5-1000~3200A帶發電機接線
Fl-2 (2A)熔斷器 HL1:市電有電指示
HL2:發電有電指示 Ugel:電壓繼電器
Uge2:電壓繼電器 KT1通電延時繼電器
KT2斷電延時繼電器 SB0:強制“0”自鎖按鈕
G:發電機啟動信號 HDl:市電投入指示
HD2:發電投入指示 HD3:市電預斷開指示
HD4:發電預斷開指示 HD5:機械掛鎖開/關指示
HD6:電氣掛鎖開/關指示
1.HD1-6、HL1-2指示燈可根據需要選擇;
2.101與106為開關輸出的指示燈電源,其中106為火線;
3.Ugel、Uge2、KT1、KT2繼電器請用戶自備。
產品安裝與接線
ATSE的安裝與調試中的各項工作應由專業人員和對該開關設備已了解的人員進行,工作中必須考慮相應的保護和預防措施,開關主回路 的接線方式必須使引線不受任何壓力或強力作用。安裝調試前應查驗開關無損壞或其它任何有危害性的環境影響,同時應檢查是否因運輸過程 中造成的線頭松動;清除臟污,尤其是絕緣件表而的臟污,在連接一次回路時應注意主備電源的相序必須一致,連接二次控制回路時應嚴格遵 照該說明書中列出的接線圖,同時注意控制電源電壓等級;開關安裝時必須有良好的接地。
ATSE的使用
正常使用時,控制器應置“自動"位置。在自動控制工作方式下,ATSE控制器對主電源和備用電源同時進行監測并顯示ATSE運行狀態。當主 電源出現停電、欠壓、過壓、缺相等故障時,ATSE經‘‘備電延時”時間后自動將負載從主電源轉換至備用電源;如果主電源恢復正常則經 “主電延時”時間(0-30S可調)后自動將負載從備用電源返回至主電源(自投不自復型ATES當備用電源正常時,即使主電源恢復正常, ATES亦保持負載與備用電源接通,不會將負載從備用電源返回至主電源,而當備用電源異常時,才將負載從備用電源返回至主電源)??刂?nbsp;器面板上設有發光二極管指示開關及電源狀況。?如不希望幵關自動轉換,或需要進行其它手動操作時,應將控制器置|‘手動”位。手時 開關不再進行自動轉換而是通過人為的操作進行轉換。
?ATSE由M手動”轉為“自動”時,如果主電源與備用電源均正常時,自投自復與自投不自復型ATSE均優先將主電源與負載接通.